FREE U.S. SHIPPING ON ORDERS $200+ | LIVE CLEAN SAVE LIVES
Signed in as:
filler@godaddy.com
Our ozone-generating product is good for up to 2,000 hours of usage.
The technology is workable above 300 TDS (Total Dissolve Solid) of water.
Ozone is 150 times powerful as chlorine and 3,000 times faster at killing harmful microorganisms.

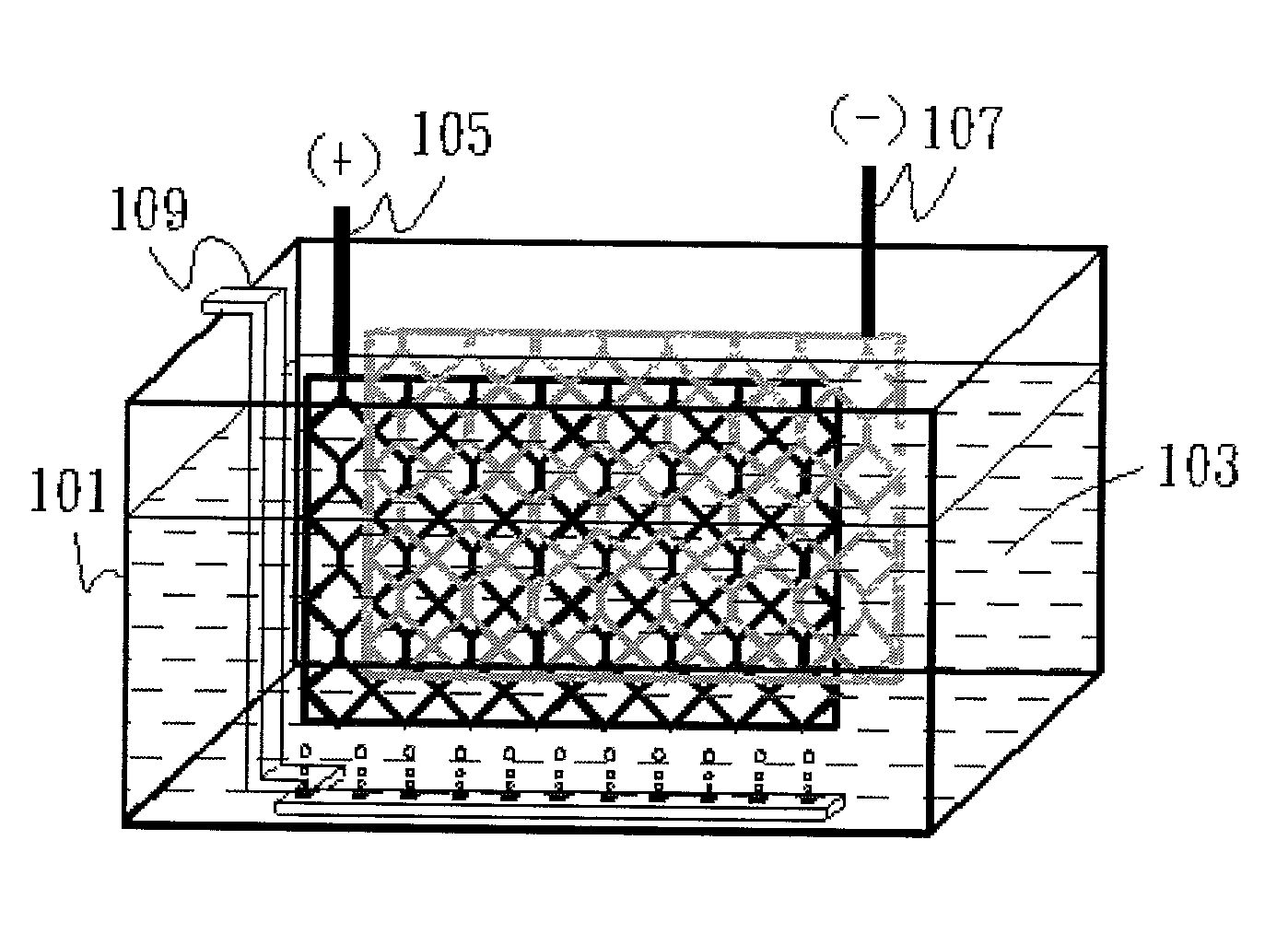
We are at the forefront in using electrolytic cells to produce ozone since 2002.
We want to provide a simple, cost-effective device for the production of ozone.



Ozone is a gas with three atoms of oxygen (O3). It is generated by energizing the oxygen molecule. In water treatment, ozone is bubbled into the water and releases reactive, atomic oxygen. This initiates a chain reaction that generates other oxygen species for disinfection and oxidization of harmful pollutants.
Ozone gas is a natural oxidant (bactericide), but the gas has no directionality and cannot sterilize the surface of an object. Using water as a medium for the gas to dissolve helps achieve these sterilization properties to be used as a proper disinfectant.
Copyright © 2024 Hydro-living - All Rights Reserved.
Powered by GoDaddy
We use cookies to analyze website traffic and optimize your website experience. By accepting our use of cookies, your data will be aggregated with all other user data.